Product Summary
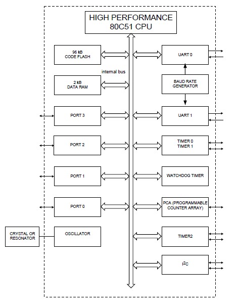
The P89C669FA is a 8-bit microcontroller with extended memory 96 kB Flash. The P89C669FA represents the first Flash microcontroller based on Philips Semiconductors’ new 51MX core. The P89C669FA features 96 kbytes of Flash program memory and 2 kbytes of data SRAM. In addition, this P89C669FA is equipped with a Programmable Counter Array (PCA), a watchdog timer that can be configured to different time ranges through SFR bits, as well as two enhanced UARTs and byte based I2C-bus serial interface.
Parametrics
P89C669FA absolute maximum rating: (1)Tamb operating temperature under bias 0 +70 ℃; (2)Tstg storage temperature range -65 +150 ℃; (3)VI input voltage on EA/VPP pin to VSS 0 +13 V; (4)input voltage on any other pin to VSS -0.5 VDD + 0.5 V; (5)II, IO maximum IOL per I/O pin - 20 mA.
Features
P89C669FA features: (1)Extended features of the 51MX Core; (2)100% binary compatibility with the classic 80C51 so that existing code is completely reusable; (3)Up to 24 MHz CPU clock with 6 clock cycles per machine cycle; (4)96 kbytes of on-chip program Flash; (5)2 kbytes of on-chip data RAM; (6)Programmable Counter Array (PCA); (7)Two full-duplex enhanced UARTs; (8)Byte based Fast I2C serial interface (400 kbits/s).
Diagrams

| Image | Part No | Mfg | Description | ![]() |
Pricing (USD) |
Quantity | ||||
|---|---|---|---|---|---|---|---|---|---|---|
![]() |
![]() P89C669FA-S |
![]() |
![]() IC 80C51 MCU FLASH 96K 44-PLCC |
![]() Data Sheet |
![]() Negotiable |
|
||||
| Image | Part No | Mfg | Description | ![]() |
Pricing (USD) |
Quantity | ||||
![]() |
![]() P89C51 |
![]() Other |
![]() |
![]() Data Sheet |
![]() Negotiable |
|
||||
![]() |
![]() P89C51RA2 |
![]() Other |
![]() |
![]() Data Sheet |
![]() Negotiable |
|
||||
![]() |
![]() P89C51RA2xx |
![]() Other |
![]() |
![]() Data Sheet |
![]() Negotiable |
|
||||
![]() |
![]() P89C51RB2 |
![]() Other |
![]() |
![]() Data Sheet |
![]() Negotiable |
|
||||
![]() |
![]() P89C51RB2BA/01,512 |
![]() |
![]() IC 80C51 MCU FLASH 16K 44-PLCC |
![]() Data Sheet |
![]() Negotiable |
|
||||
![]() |
![]() P89C51RB2HBA |
![]() Other |
![]() |
![]() Data Sheet |
![]() Negotiable |
|
||||
(China (Mainland))






